找回密码
 立即注册
澳门威尼斯人
U8
U18
海燕招商
A
蓝盾
e世博
islot.
申博亚洲
B
开云
腾博会
德信
C级广告商
吉祥坊
华体会
查看: 202060|回复: 59

[真人] 【实战有奖】今天在申博亚洲娱乐城也是亏损了

[复制链接]

1841

主题

6万

回帖

4255

金币

钻石用户

积分
177073

万时之王老会员勤奋勋章交易勋章

发表于 2024-10-20 14:00 | 显示全部楼层 |阅读模式

马上注册,结交更多好友,享用更多功能,让你轻松玩转社区。

您需要 登录 才可以下载或查看,没有账号?立即注册

×
今天去申博亚洲玩的也是没运气,好就没去玩BB了,今天就去玩了一会BB百家乐,但是这个运气不行啊,后面的胜率太差劲了,只能是止损了。然后去玩玩大神经常玩的BB麻将胡了,这个游戏是真的吃啊,只有大神能去玩,吃的是真速度。7 V3 C7 a! g- x# ]( e) l  f+ |
1.png 6.png
5 r9 k3 u( b- y" M: }9 x* s这次玩的百家乐,开局上去就是黑掉了,然后加注打回来之后接着也是顺利的命中了,但是后面又是黑了,但是继续加注两手直接一波的三连黑啊。
6 O3 T$ p; S! Q$ l. U0 |! o1 Q 3.png
1 y1 m& L, u& s+ ]9 K! q
" c7 O+ Y4 a* o% p' W( S$ b. _$ e" O; A& J9 N5 H) M

! C$ z, i3 P) V6 {4 }, i还好最后的梭哈拿下了,但是梭哈之后又是连续的黑了两手啊,继续只能是再梭哈了,那也是回本没啥意思了,止损不玩了,不可能再给我机会让我梭哈再成功了。- `: k, k, R" q) m6 k- |( y
4.png 5.png " {$ E% K7 E1 B4 C
9 [* d& d' U) h( z2 @# [( G8 l7 w
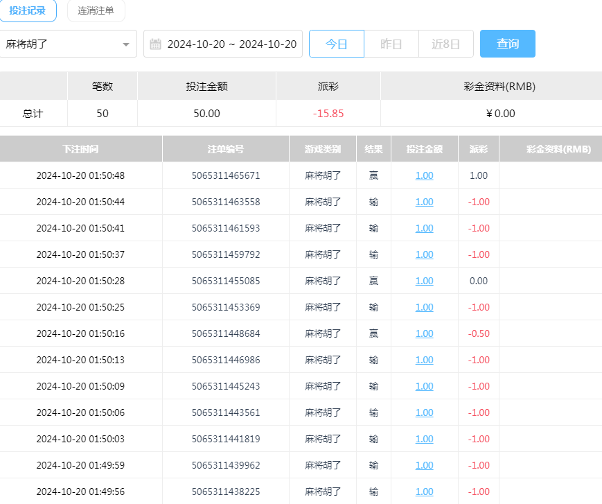
然后去玩玩老虎机,看见大神总是去BB的麻将胡了,我也去尝试一下吧,开始进去还不错得了,进去给个20多的奖励,以为挺好玩,但是接下来就是一顿吃啊,几乎不怎么中奖,这吃的真速度啊,这游戏一般人承受不来别去玩,容易上头。
- N& R% V) p) V9 W' x5 d9 n: F 7.png 8.png   n) [2 z2 h0 @* u7 e
2 V) q" F. K  b( H% E
回复

使用道具 举报

头像被屏蔽

102

主题

9137

回帖

2659

金币

禁止发言

积分
23011

老会员美女勋章

发表于 2024-10-20 14:22 | 显示全部楼层
提示: 作者被禁止或删除 内容自动屏蔽
回复 支持 反对

使用道具 举报

3373

主题

8万

回帖

1万

金币

海燕硕士

积分
237558

万时之王老会员精华勋章勤奋勋章交易勋章光影行者

发表于 2024-10-20 14:35 | 显示全部楼层
不过看起来亏损也是很多的,希望下一次能够赚回来就好
回复 支持 反对

使用道具 举报

3373

主题

8万

回帖

1万

金币

海燕硕士

积分
237558

万时之王老会员精华勋章勤奋勋章交易勋章光影行者

发表于 2024-10-20 14:35 | 显示全部楼层
尔不耳不斤 发表于 2024-10-20 14:22" j+ `& c1 I2 L  q  W6 M
亏损不是很多就不要着急了,楼主运气好一点就行了
+ ^( ?/ |$ w2 w8 }) @
对,玩游戏的话肯定还是不要太着急了,下一次会有好运的
回复 支持 反对

使用道具 举报

1053

主题

2万

回帖

8569

金币

铂金用户

积分
74633

老会员交易勋章光影行者

发表于 2024-10-20 15:34 | 显示全部楼层
最后输了也是没有办法的事了,希望下下次是好运的
回复 支持 反对

使用道具 举报

1053

主题

2万

回帖

8569

金币

铂金用户

积分
74633

老会员交易勋章光影行者

发表于 2024-10-20 15:35 | 显示全部楼层
lantianyun 发表于 2024-10-20 14:35# \) w! s! g5 H' D# h6 ]1 I, K: B# ~* N# [
不过看起来亏损也是很多的,希望下一次能够赚回来就好
5 T% \1 U1 u& F, R$ ^
希望下次是有好运气的,可以把这次的损失打回来吧
回复 支持 反对

使用道具 举报

252

主题

1万

回帖

1256

金币

金牌会员

积分
30524

老会员

发表于 2024-10-20 16:03 | 显示全部楼层
没有一个好的运气,就是不行的,希望以后都能够有个好的收益了。
回复 支持 反对

使用道具 举报

102

主题

6390

回帖

2606

金币

金牌会员

积分
20822

老会员

发表于 2024-10-20 16:25 | 显示全部楼层
战绩不佳有一点损失了,运气差了先休息一下吧
回复 支持 反对

使用道具 举报

2317

主题

7万

回帖

7675

金币

海燕硕士

积分
218331

老会员超级精华精华勋章美女勋章勤奋勋章交易勋章万时之王

发表于 2024-10-20 18:15 | 显示全部楼层
今天的运气不行呀也是导致了亏损的呀,下次也是希望有个收入的呀
回复 支持 反对

使用道具 举报

2317

主题

7万

回帖

7675

金币

海燕硕士

积分
218331

老会员超级精华精华勋章美女勋章勤奋勋章交易勋章万时之王

发表于 2024-10-20 18:15 | 显示全部楼层
易天一人 发表于 2024-10-20 16:25
; J& I3 T  u! Z5 R& l) _# t战绩不佳有一点损失了,运气差了先休息一下吧

, P+ k2 `2 P; N# t1 ]6 t5 b/ j这个损失的话也可以理解的呀,毕竟不可能天天盈利的
回复 支持 反对

使用道具 举报

2317

主题

7万

回帖

7675

金币

海燕硕士

积分
218331

老会员超级精华精华勋章美女勋章勤奋勋章交易勋章万时之王

发表于 2024-10-20 18:15 | 显示全部楼层
飞舞倾城 发表于 2024-10-20 15:35) t" T- z( G! D* `9 B0 M( s
希望下次是有好运气的,可以把这次的损失打回来吧

8 Y3 T0 {5 f0 H7 t: p希望有什么用的呀,要有一个运气也不容易的事呀
回复 支持 反对

使用道具 举报

2317

主题

7万

回帖

7675

金币

海燕硕士

积分
218331

老会员超级精华精华勋章美女勋章勤奋勋章交易勋章万时之王

发表于 2024-10-20 18:16 | 显示全部楼层
lantianyun 发表于 2024-10-20 14:35
' K5 S" M* K5 l: ^( n" ]对,玩游戏的话肯定还是不要太着急了,下一次会有好运的

" W* k7 N- M4 z8 q8 h这个着急也是没有用的呀,运气不行也是导致了这个输钱 的
回复 支持 反对

使用道具 举报

112

主题

7814

回帖

2175

金币

银牌会员

积分
19397

老会员

发表于 2024-10-20 18:35 | 显示全部楼层
1 z+ k, [! ]# v# W
每个人打法不一样,像你这种时候我会不服输继续打,估计会输更多
回复 支持 反对

使用道具 举报

480

主题

3万

回帖

4665

金币

铂金用户

积分
84327

老会员美女勋章勤奋勋章交易勋章

发表于 2024-10-20 19:58 | 显示全部楼层
运气不给力也是要离开,下一次有机会就可以翻本了
回复 支持 反对

使用道具 举报

2569

主题

5万

回帖

8472

金币

钻石用户

积分
177629

万时之王老会员精华勋章勤奋勋章交易勋章

发表于 2024-10-20 21:04 来自手机 | 显示全部楼层
总是会有输有赢的,这次输钱不太多,明天有机会再赢回来的,加油
回复 支持 反对

使用道具 举报

您需要登录后才可以回帖 登录 | 立即注册

本版积分规则

广告合作|评测有奖|福利汇|论坛简介|钱包合集|手机版|小黑屋|Archiver|海燕论坛

快速回复 返回顶部 返回列表