找回密码
 立即注册
澳门威尼斯人
U8
U18
海燕招商
A
蓝盾
e世博
islot.
申博亚洲
B
开云
腾博会
德信
C级广告商
吉祥坊
华体会
查看: 215667|回复: 61

[真人] 【实战有奖】今天在九五至尊娱乐城骰宝赢100老虎机赢17

[复制链接]

3630

主题

7万

回帖

6091

金币

海燕硕士

积分
208286

万时之王老会员勤奋勋章交易勋章

发表于 2024-7-21 09:19 | 显示全部楼层 |阅读模式

马上注册,结交更多好友,享用更多功能,让你轻松玩转社区。

您需要 登录 才可以下载或查看,没有账号?立即注册

×
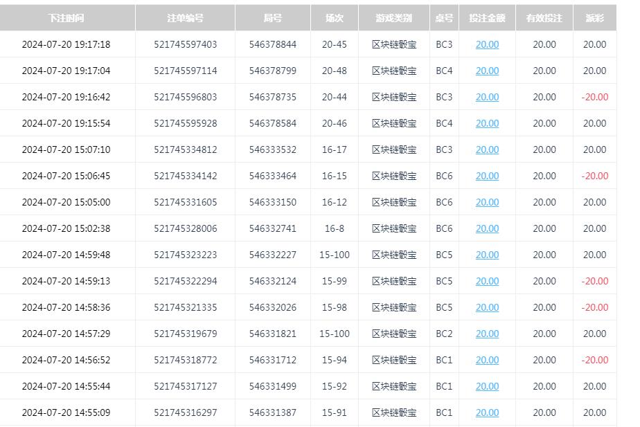
一大早玩这个区块链色子玩的还是很成功的打出来收米100块钱,开局还是20一单下注小打出来221点数5成功收米,继续下注小打出来331点数7也是收米了,开局连红两局还是很不错的,后面还有一个3连红,还遇到一个111的豹子,差一点就不想玩了,好在是后面的下注比较给力最后连红两单收米100块钱就没有继续下注了
! U0 Y$ g2 M* s2 ]( H1 c3 d6 q, y8 M3 W1 K3 j2 i( F. E2 E3 M
360截图20240721083423847.jpg 360截图20240721083540949.jpg 360截图20240721083550747.jpg 360截图20240721091242864.jpg ) t1 w# M, w1 ]8 O6 R, r
9 w, g" ^8 N  n& I, U3 D
一大早打出来收米100块钱也可以接受了,起码能够做到赢钱就可以了,继续下注遇到连黑输光光本金盈利就不好了,昨天就是这样的上午盈利60块钱,下午就输掉了150,今天的盈利还是没有赢回来昨天的损失啊,菠菜真的是太难了今天赢钱明天就会输钱不可能让你一直赢钱的,这就是菠菜的无奈啊
& S7 P7 }) k. N$ h 360截图20240721083458452.jpg 9 o: l8 F+ O8 x5 K, B. e' o

+ N+ b0 F( H5 i; w/ W有了盈利还是会去玩玩麻将胡了2,开始玩的不顺利一直输钱就没有几个奖励还都是小奖,一直输钱输了30多块钱的时候,中一个42块钱的大奖,一下子赢回来前面输掉的损失还有17块钱的盈利,老虎机这样的结果已经很不错了,打出来赢钱就是成功的结果了,知足常乐就可以了不要继续下注了,很容易输掉盈利就不好了,今天的老虎机就是没有打出来一个免费旋转还是很可惜的,明天再玩就可以了
4 `1 F+ h2 i1 s) r- G8 P 360截图20240721083804702.jpg 360截图20240721083735128.jpg . y- d1 Z0 Q: |. c. u4 n: ?" e

& `1 a6 Z. s; m8 ^1 N+ }
回复

使用道具 举报

252

主题

1万

回帖

1266

金币

金牌会员

积分
30559

老会员

发表于 2024-7-21 09:25 | 显示全部楼层
只要是能够赢钱,还是很不错的,希望以后都能够有个好的结果了。
回复 支持 反对

使用道具 举报

3377

主题

8万

回帖

1万

金币

海燕硕士

积分
240105

万时之王老会员精华勋章勤奋勋章交易勋章光影行者

发表于 2024-7-21 10:02 | 显示全部楼层
这样的老虎机能够成功的赚了十几块,也是看起来非常不错的
回复 支持 反对

使用道具 举报

3377

主题

8万

回帖

1万

金币

海燕硕士

积分
240105

万时之王老会员精华勋章勤奋勋章交易勋章光影行者

发表于 2024-7-21 10:02 | 显示全部楼层
黑雨衣大盗 发表于 2024-7-21 09:255 N0 a; q8 B3 E: [  p8 o, R2 m
只要是能够赢钱,还是很不错的,希望以后都能够有个好的结果了。
, S- }1 t3 w" B+ q8 y
当然最终的目标只要实现了成功的赚钱,也是一个挺好的结果
回复 支持 反对

使用道具 举报

624

主题

8218

回帖

6210

金币

金牌会员

积分
28457

老会员交易勋章

发表于 2024-7-21 10:51 | 显示全部楼层
20均注打,多少还是有盈利的,百家乐就适合均注
回复 支持 反对

使用道具 举报

14

主题

1万

回帖

3999

金币

金牌会员

积分
31166

老会员

发表于 2024-7-21 10:55 | 显示全部楼层
楼主能够有这样的收益,确实是很不错的,但愿以后都能够有个好的结果了。
回复 支持 反对

使用道具 举报

36

主题

476

回帖

1335

金币

高级用户

积分
4117

老会员

发表于 2024-7-21 10:58 来自手机 | 显示全部楼层
盈利17大洋也是不错的,一份快餐钱到手了。下次多赢一份快餐钱
回复 支持 反对

使用道具 举报

112

主题

7818

回帖

2183

金币

银牌会员

积分
19425

老会员

发表于 2024-7-21 14:10 | 显示全部楼层
这小钱嘛,赢了也开心,我就喜欢这种稳定节奏赢钱的
回复 支持 反对

使用道具 举报

3377

主题

8万

回帖

1万

金币

海燕硕士

积分
240105

万时之王老会员精华勋章勤奋勋章交易勋章光影行者

发表于 2024-7-21 14:11 | 显示全部楼层
展现出 发表于 2024-7-21 10:51% a  [; p1 t0 G* k& n  x) S$ j
20均注打,多少还是有盈利的,百家乐就适合均注
' p/ C+ ?. |/ R
只要能够玩游戏,多多少少的有点赚钱的就还是很开心的
回复 支持 反对

使用道具 举报

3377

主题

8万

回帖

1万

金币

海燕硕士

积分
240105

万时之王老会员精华勋章勤奋勋章交易勋章光影行者

发表于 2024-7-21 14:11 | 显示全部楼层
气味儿 发表于 2024-7-21 14:10
& r* H) g6 m. P" n这小钱嘛,赢了也开心,我就喜欢这种稳定节奏赢钱的
: k* k" r! K  @1 I
当然只要能够赚钱还是会非常的开心的,还是希望能够多多赚钱
回复 支持 反对

使用道具 举报

195

主题

1万

回帖

1160

金币

千足金牌会员

积分
41555

老会员

发表于 2024-7-21 14:37 | 显示全部楼层
楼主的运气看着还是非常可以的,一会就是爆出高倍奖金的
回复 支持 反对

使用道具 举报

195

主题

1万

回帖

1160

金币

千足金牌会员

积分
41555

老会员

发表于 2024-7-21 14:38 | 显示全部楼层
lantianyun 发表于 2024-7-21 14:11
3 w6 ^* h. O/ J' `/ J7 j当然只要能够赚钱还是会非常的开心的,还是希望能够多多赚钱
+ u  {; A3 k6 d5 v# H! M( w& G
要是这时候去加倍的话,打出来可是非常理想的奖励呀
回复 支持 反对

使用道具 举报

1500

主题

7万

回帖

2万

金币

海燕硕士

积分
243792

万时之王老会员精华勋章勤奋勋章交易勋章光影行者

发表于 2024-7-21 15:56 | 显示全部楼层
可以赢钱了还是非常高兴的呢,希望楼主是可以保持住这样的好运气能够每天都赚钱的吧
回复 支持 反对

使用道具 举报

1500

主题

7万

回帖

2万

金币

海燕硕士

积分
243792

万时之王老会员精华勋章勤奋勋章交易勋章光影行者

发表于 2024-7-21 15:57 | 显示全部楼层
hy188820 发表于 2024-7-21 14:38: u; H9 u2 `6 p# F; r+ Y8 C
要是这时候去加倍的话,打出来可是非常理想的奖励呀

* H: v( s1 R5 ?. ]" m% q) ?0 H5 N+ c这个也是非常有道理的,毕竟我们都是想要能够战胜庄家轻松赚钱的呢
回复 支持 反对

使用道具 举报

头像被屏蔽

102

主题

9137

回帖

2659

金币

禁止发言

积分
23011

老会员美女勋章

发表于 2024-7-21 16:14 | 显示全部楼层
提示: 作者被禁止或删除 内容自动屏蔽
回复 支持 反对

使用道具 举报

您需要登录后才可以回帖 登录 | 立即注册

本版积分规则

广告合作|评测有奖|福利汇|论坛简介|钱包合集|手机版|小黑屋|Archiver|海燕论坛

快速回复 返回顶部 返回列表