找回密码
 立即注册
澳门威尼斯人
U8
U18
海燕招商
A
蓝盾
e世博
islot.
申博亚洲
澳门银河
B
腾博会
德信
C级广告商
吉祥坊
查看: 2781|回复: 94

[彩票] 晚上的彩票非常顺利收米390多块钱

[复制链接]

75

主题

2780

回帖

708

金币

铜牌用户

积分
8509

老会员

发表于 2026-3-14 18:41 | 显示全部楼层 |阅读模式

马上注册,结交更多好友,享用更多功能,让你轻松玩转社区。

您需要 登录 才可以下载或查看,没有账号?立即注册

×
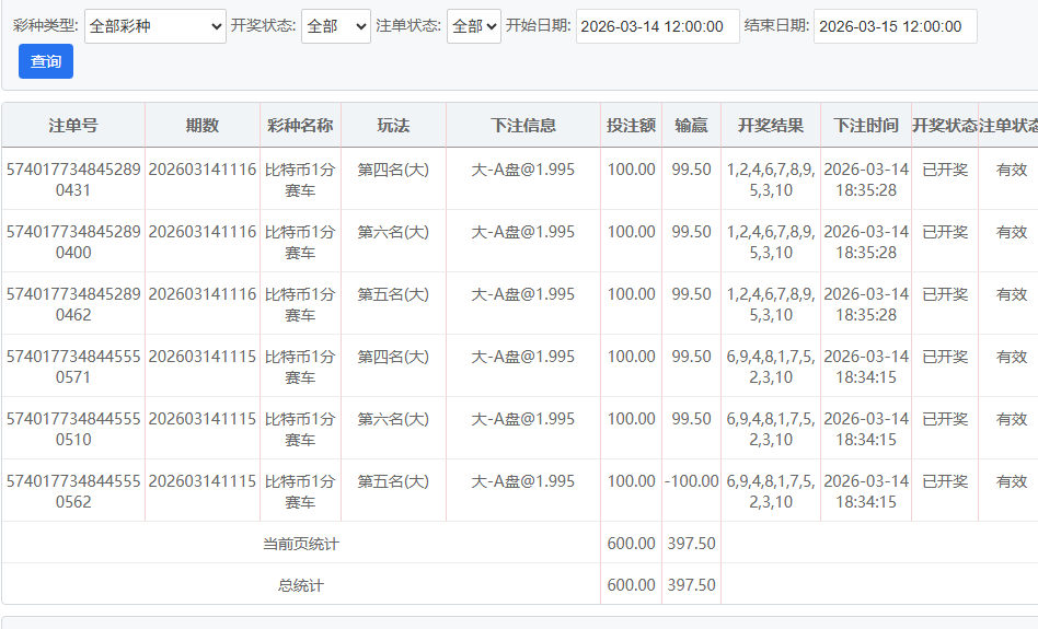
晚上的比特赛车居然能顺利赢到390多块钱,依旧是按100-200-300-450-600的节奏来下注。( \1 B- E" W, {7 _: y
1.jpg
. V( T: H% t( v) \: ~ 2.jpg
7 ~. R( f) w* @+ b. x% @0 U, ]' ^$ N  \% C+ T

- r0 \1 b4 l/ w% D" P4 F) o  m; ?0 J8 c) I  `) n8 [9 s+ ?9 v
- m2 e# X7 B! ^3 [: [" S2 W) X

评分

参与人数 1金币 +6 收起 理由
海燕RG + 6 实战分享

查看全部评分

回复

使用道具 举报

227

主题

1万

回帖

3355

金币

千足金牌会员

积分
47335

老会员

发表于 2026-3-14 19:58 | 显示全部楼层
楼主玩彩票游戏非常有策略,更多结果来看也是有效果收获
回复 支持 反对

使用道具 举报

8

主题

219

回帖

1173

金币

高级用户

积分
3061
发表于 2026-3-14 20:06 | 显示全部楼层
还是楼主高啊,这场令人满意   
回复 支持 反对

使用道具 举报

9

主题

2万

回帖

2904

金币

铂金用户

积分
71744

光影行者

发表于 2026-3-14 20:38 | 显示全部楼层
这节奏稳得一批,小步慢跑不贪真能扛住波动,下次试试前几轮压更轻点
回复 支持 反对

使用道具 举报

4

主题

1万

回帖

8114

金币

千足金牌会员

积分
48736
发表于 2026-3-15 02:24 | 显示全部楼层
比特赛车按那阶梯节奏下居然收了390多,顺的时候这注码走得还挺稳啊
回复 支持 反对

使用道具 举报

1623

主题

8万

回帖

2万

金币

海燕硕士

积分
257280

万时之王老会员精华勋章勤奋勋章交易勋章光影行者

发表于 2026-3-15 05:48 | 显示全部楼层
楼主也是非常给力的收米了,非常满意的成绩
回复 支持 反对

使用道具 举报

1623

主题

8万

回帖

2万

金币

海燕硕士

积分
257280

万时之王老会员精华勋章勤奋勋章交易勋章光影行者

发表于 2026-3-15 05:48 | 显示全部楼层
蔬菜沙拉 发表于 2026-3-14 20:38
/ f5 L0 x/ n' D2 H- F5 h8 \  B这节奏稳得一批,小步慢跑不贪真能扛住波动,下次试试前几轮压更轻点
& b. z) ]' m+ W! ~3 E
我们都是非常喜欢这样的盈利,要祝贺一下楼主的
回复 支持 反对

使用道具 举报

1623

主题

8万

回帖

2万

金币

海燕硕士

积分
257280

万时之王老会员精华勋章勤奋勋章交易勋章光影行者

发表于 2026-3-15 05:48 | 显示全部楼层
思维认知 发表于 2026-3-15 02:24
( e4 \) D1 G3 {0 Y0 j& Y+ \比特赛车按那阶梯节奏下居然收了390多,顺的时候这注码走得还挺稳啊

- o! t2 F4 j- t: c楼主是个玩彩票的高手,非常让人羡慕的了
回复 支持 反对

使用道具 举报

8

主题

1万

回帖

4781

金币

千足金牌会员

积分
57690

老会员光影行者

发表于 2026-3-15 06:32 | 显示全部楼层
节奏控制得不错,390的收益确实让人心里舒坦,这个下注模式挺稳的
回复 支持 反对

使用道具 举报

0

主题

4269

回帖

8362

金币

金牌会员

积分
29313
发表于 2026-3-15 06:56 | 显示全部楼层
比特赛车这节奏居然能捞到390多?100起步一步步加居然没翻船,手气是真顺啊,羡慕了
回复 支持 反对

使用道具 举报

0

主题

4269

回帖

8362

金币

金牌会员

积分
29313
发表于 2026-3-15 06:57 | 显示全部楼层
思维认知 发表于 2026-3-15 02:248 P  |. D* T+ ~9 ^6 G
比特赛车按那阶梯节奏下居然收了390多,顺的时候这注码走得还挺稳啊
; I- i1 s  ?! h( c7 K
比特赛车那阶梯节奏居然稳收390多,顺的时候注码走得还挺舒服,看来摸对节奏是真省心,不像有时候瞎搞乱飘
回复 支持 反对

使用道具 举报

2543

主题

8万

回帖

4194

金币

海燕硕士

积分
228867

老会员超级精华精华勋章美女勋章勤奋勋章交易勋章万时之王

发表于 2026-3-15 07:22 | 显示全部楼层
彩票可以赚到这么多的钱也不容易
回复 支持 反对

使用道具 举报

2543

主题

8万

回帖

4194

金币

海燕硕士

积分
228867

老会员超级精华精华勋章美女勋章勤奋勋章交易勋章万时之王

发表于 2026-3-15 07:22 | 显示全部楼层
NO.2 发表于 2026-3-15 06:57
  T2 L9 Y- w& k. F; r; p/ F比特赛车那阶梯节奏居然稳收390多,顺的时候注码走得还挺舒服,看来摸对节奏是真省心,不像有时候瞎搞乱 ...

1 v- {! g9 I4 u; p4 q& ?, a& c0 G! j: M有个好的节奏才能稳定的搞钱来的呀
回复 支持 反对

使用道具 举报

2543

主题

8万

回帖

4194

金币

海燕硕士

积分
228867

老会员超级精华精华勋章美女勋章勤奋勋章交易勋章万时之王

发表于 2026-3-15 07:22 | 显示全部楼层
cwx1994 发表于 2026-3-15 05:48
- a" l* J) d& P, ?9 j楼主是个玩彩票的高手,非常让人羡慕的了

' Z" X5 U' c# Q+ i) R  [确实也算一个高手吧,这样才能赚到钱
回复 支持 反对

使用道具 举报

2543

主题

8万

回帖

4194

金币

海燕硕士

积分
228867

老会员超级精华精华勋章美女勋章勤奋勋章交易勋章万时之王

发表于 2026-3-15 07:22 | 显示全部楼层
123 发表于 2026-3-14 20:06) p1 b, z1 R% [
还是楼主高啊,这场令人满意

% z2 Y, I! y( j2 ^5 R也没有什么好羡慕的吧,几百块钱而已
回复 支持 反对

使用道具 举报

您需要登录后才可以回帖 登录 | 立即注册

本版积分规则

广告合作|福利汇|论坛简介|钱包教程|手机版|小黑屋|Archiver|海燕论坛

快速回复 返回顶部 返回列表