找回密码
 立即注册
澳门威尼斯人
U8
U18
海燕招商
A
蓝盾
e世博
islot.
申博亚洲
澳门银河
B
腾博会
德信
C级广告商
吉祥坊
查看: 2084|回复: 68

[彩票] 3月开头第一天游戏彩票很顺利收525块钱

[复制链接]

75

主题

2780

回帖

708

金币

铜牌用户

积分
8509

老会员

发表于 2026-3-1 12:44 | 显示全部楼层 |阅读模式

马上注册,结交更多好友,享用更多功能,让你轻松玩转社区。

您需要 登录 才可以下载或查看,没有账号?立即注册

×
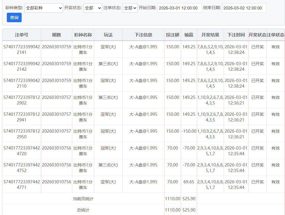
比特彩票玩法一直坚持三定位两面玩法,一般都是正对官方彩票的策略部署打法;70-150-200-300-500的递增下注额,今天极其顺利收525块钱。. U; c) i. i2 D) A( r* V
: q  f% `9 D! ?& H, [: |
2.png 4 d5 a0 k/ o) A( Q/ M
3.png
( }7 q- a8 q/ K3 |& F2 C
+ j9 h2 ]8 ?/ b9 L& d

评分

参与人数 1金币 +8 收起 理由
海燕RG + 8 实战分享

查看全部评分

回复

使用道具 举报

1457

主题

1万

回帖

9410

金币

千足金牌会员

积分
49828

老会员财富勋章精华勋章交易勋章热心会员魅力达人

发表于 2026-3-1 12:56 | 显示全部楼层
这个收获我觉得很给力哦
回复 支持 反对

使用道具 举报

227

主题

1万

回帖

3355

金币

千足金牌会员

积分
47335

老会员

发表于 2026-3-1 13:04 | 显示全部楼层
玩游戏能快速完成盈利,那种感觉真棒!
回复 支持 反对

使用道具 举报

365

主题

9424

回帖

6671

金币

千足金牌会员

积分
40827

老会员

发表于 2026-3-1 19:48 | 显示全部楼层
赚多赚少都是好的,兄弟技术就是强
回复 支持 反对

使用道具 举报

365

主题

9424

回帖

6671

金币

千足金牌会员

积分
40827

老会员

发表于 2026-3-1 19:48 | 显示全部楼层
hy188820 发表于 2026-3-1 13:04* n$ n0 t" t* D6 l" ?" l, u
玩游戏能快速完成盈利,那种感觉真棒!
4 w/ p$ G* w. s1 `: p! a
兄弟赚到钱也还是挺好的,运气这也无敌了
回复 支持 反对

使用道具 举报

9

主题

2万

回帖

2904

金币

铂金用户

积分
71744

光影行者

发表于 2026-3-1 20:49 | 显示全部楼层
三定位两面稳扎稳打,这次小赢525挺舒服,递增节奏拿捏得不错啊
回复 支持 反对

使用道具 举报

9

主题

2万

回帖

2904

金币

铂金用户

积分
71744

光影行者

发表于 2026-3-1 20:50 | 显示全部楼层
笑看人生 发表于 2026-3-1 12:56
' `! ^+ F8 S, b4 {- n0 T  h( A这个收获我觉得很给力哦
8 [6 j7 L- U& T: _( S- X3 |$ t
这开局确实舒服,希望后面能稳住别飘,小赢最怕心态炸
回复 支持 反对

使用道具 举报

619

主题

1万

回帖

2081

金币

金牌会员

积分
34378

老会员

发表于 2026-3-1 23:54 | 显示全部楼层
这次赚得快,心里真爽,下次还要这么干!
回复 支持 反对

使用道具 举报

1625

主题

8万

回帖

2万

金币

海燕硕士

积分
257341

万时之王老会员精华勋章勤奋勋章交易勋章光影行者

发表于 2026-3-2 05:53 | 显示全部楼层
可以收米这么多钱也是非常厉害的了
回复 支持 反对

使用道具 举报

1625

主题

8万

回帖

2万

金币

海燕硕士

积分
257341

万时之王老会员精华勋章勤奋勋章交易勋章光影行者

发表于 2026-3-2 05:53 | 显示全部楼层
hy188820 发表于 2026-3-1 13:04
2 _) _7 I, I% k  o7 G( c玩游戏能快速完成盈利,那种感觉真棒!
# o3 v2 s7 m$ h1 q/ h
这样的感觉还是超级棒的了
回复 支持 反对

使用道具 举报

1625

主题

8万

回帖

2万

金币

海燕硕士

积分
257341

万时之王老会员精华勋章勤奋勋章交易勋章光影行者

发表于 2026-3-2 05:53 | 显示全部楼层
do68229 发表于 2026-3-1 19:48
+ D( m+ ]$ y& ?赚多赚少都是好的,兄弟技术就是强

; B8 h, Y  V3 ~* |2 S. Q6 v$ f7 y这样的技术还是非常棒的了
回复 支持 反对

使用道具 举报

1625

主题

8万

回帖

2万

金币

海燕硕士

积分
257341

万时之王老会员精华勋章勤奋勋章交易勋章光影行者

发表于 2026-3-2 05:53 | 显示全部楼层
do68229 发表于 2026-3-1 19:48
% \0 u2 d- \" z* z( C+ V( ^8 }兄弟赚到钱也还是挺好的,运气这也无敌了

% P8 V' y4 l/ g4 \: Q6 Q. S9 `希望是可以能够一直都保持住这样的好运气
回复 支持 反对

使用道具 举报

1625

主题

8万

回帖

2万

金币

海燕硕士

积分
257341

万时之王老会员精华勋章勤奋勋章交易勋章光影行者

发表于 2026-3-2 05:54 | 显示全部楼层
蔬菜沙拉 发表于 2026-3-1 20:49
0 Q  [" W5 X3 |& z* H三定位两面稳扎稳打,这次小赢525挺舒服,递增节奏拿捏得不错啊

1 S4 p! q3 x8 y确实是非常让人舒服的事情了呢。   
回复 支持 反对

使用道具 举报

1625

主题

8万

回帖

2万

金币

海燕硕士

积分
257341

万时之王老会员精华勋章勤奋勋章交易勋章光影行者

发表于 2026-3-2 05:54 | 显示全部楼层
蔬菜沙拉 发表于 2026-3-1 20:509 ^$ z/ w5 n" h# |; I9 R& E8 c
这开局确实舒服,希望后面能稳住别飘,小赢最怕心态炸

6 d9 ~+ P. h) G0 v2 a- M- U4 l毕竟大家都是非常喜欢赚钱的结果了。
回复 支持 反对

使用道具 举报

1625

主题

8万

回帖

2万

金币

海燕硕士

积分
257341

万时之王老会员精华勋章勤奋勋章交易勋章光影行者

发表于 2026-3-2 05:54 | 显示全部楼层
一路前行 发表于 2026-3-1 23:54" U+ m- E% u5 h) {
这次赚得快,心里真爽,下次还要这么干!
& u4 G# N. `" T2 s$ q3 L8 D8 R0 f  @
相信是可以能够每天都这样的赚钱的
回复 支持 1 反对 0

使用道具 举报

您需要登录后才可以回帖 登录 | 立即注册

本版积分规则

广告合作|福利汇|论坛简介|钱包教程|手机版|小黑屋|Archiver|海燕论坛

快速回复 返回顶部 返回列表