找回密码
 立即注册
澳门威尼斯人
U8
U18
海燕招商
A
蓝盾
e世博
islot.
申博亚洲
澳门银河
B
腾博会
德信
C级广告商
吉祥坊
查看: 27205|回复: 74

[彩票] 【实战有奖】威尼斯人台湾宾果连挂后稳收,亏损2450止步

[复制链接]

98

主题

2万

回帖

7445

金币

铂金用户

积分
87736

老会员交易勋章魅力达人

发表于 2025-10-6 16:17 | 显示全部楼层 |阅读模式

马上注册,结交更多好友,享用更多功能,让你轻松玩转社区。

您需要 登录 才可以下载或查看,没有账号?立即注册

×
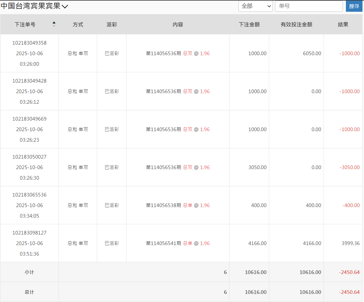
今天下午打了台湾宾果这一轮,整体过程挺曲折,但也算控制住了节奏。大概从下午三点左右开始进场,当时看走势总和“双”连开几期,手痒了,于是轻仓试单。原本打算随便玩玩,结果越看越不对劲,单双频繁切换,让人有点摸不清节奏。  J) z' n( g4 b% L

9 }3 a2 a2 Q" e+ W$ K* i这轮总共下了六单,前几把基本都在试探走势。结果连续几期都反着来,尤其是那笔3050的“总双”,被直接吃掉,账面一口气红到三千多。那一瞬间心态确实有点晃,手差点又去补仓。后来想到之前吃亏的经验,强行让自己停手,看完那期结果就去洗了个脸。
8 L" T3 d) x9 c0 h" j5 o1 D/ ^
, p( f7 w/ t5 {2 X7 e回来后重新看走势图,发现节奏有点回稳,于是再上两把“总单”试水。最后一单我加到4166,打的第114056541期,终于中回来了3999.36,这口气算是稳了。整盘下来,亏了2450左右,折合人民币不到两千。
, h5 P) t1 o& |* d( B8 e
) r! d: |6 p6 S, Z8 \账面上虽然是负的,但我个人觉得这轮打得比前几次更“成熟”——不是赢多少的问题,而是我终于没再乱追。这次BBIN那边转入了10616,转出回大厅时剩8165,虽然账面亏损,但过程有节制、心态稳,算是一次小考合格。5 L! Y. I. T8 h* T
% p5 _1 \1 m. ~+ x* b4 E) }
过去我常常一看挂单就想加码“赢回来”,结果反而输更惨。现在我学会了一件事:赢钱靠机会,止损靠自律。只要不被情绪带走,长期来看反而能少损多赢。2 j) u7 \( S% a

8 |# P! p7 H: i. K3 X! m另外,这轮台湾宾果的走势挺诡异的,总和单双跳得快,没有出现连续7期以上的连号。下午那段时间尤其乱,建议后面玩这盘口的兄弟们注意节奏,不要被短线结果误导。可以像我这样——前几期用小注探路,等走势方向稳定后再加码。& v+ W5 {+ x5 }, h( u) I
4 O- q' \+ S; C4 Q; M2 Y) K7 B
这次我还特地看了下注明细,总金额10616,有效投注全打满,亏损-2450.64。虽然是红的,但我反而挺高兴,因为这说明我守住了底线:没追加、没爆仓。2 D: p( B( t. a& B0 c
* K& l0 _, l( r) w
最后总结一句:+ K6 O: M5 w) s% {& B3 u1 C
输钱不可怕,乱输才可怕;稳得住,才是真正的赢。; |6 S( z" H( V, c+ L: z

7 y" x4 b6 i# d) j, `1 g4 K这两天论坛不少人也在分享台湾盘的节奏,我的经验是——宁可打慢,也不要乱节奏。未来几天我会继续观察走势,等连号或规律性区间出来,再考虑加仓。今天就到这,休息一会,晚上再看情况。
% M/ `' u2 t1 d9 o
7 Y7 ]% z, N" n QQ20251006-160203.png QQ20251006-160102.png 6 }$ [) w1 M* s' Q

8 T0 a0 q4 E2 ]0 Q2 m5 S( B, N9 i6 d* j; X  e9 G$ n6 N) [. i
回复

使用道具 举报

1

主题

4994

回帖

4198

金币

金牌会员

积分
23389

老会员

发表于 2025-10-6 16:22 | 显示全部楼层
楼主亏损了还是要止损,回血了一大半还是挺不错了
回复 支持 反对

使用道具 举报

197

主题

6859

回帖

148

金币

银牌会员

积分
13995

老会员交易勋章

发表于 2025-10-6 17:56 | 显示全部楼层
你还玩这个啊,我是真没玩过这类彩票,是彩票没错吧,止损做到位就好
回复 支持 反对

使用道具 举报

9

主题

2万

回帖

3107

金币

铂金用户

积分
72454

光影行者

发表于 2025-10-6 19:37 | 显示全部楼层
3050那把真够呛,能忍住不补仓已经赢一半,节奏乱时洗脸是个好招
回复 支持 反对

使用道具 举报

3400

主题

4万

回帖

4145

金币

钻石用户

积分
116771

万时之王老会员勤奋勋章交易勋章

发表于 2025-10-6 19:48 | 显示全部楼层
老哥还是低调点吧, 亏损2450, 也是输太多了, 还是要及时收手,真不敢继续了
回复 支持 反对

使用道具 举报

3400

主题

4万

回帖

4145

金币

钻石用户

积分
116771

万时之王老会员勤奋勋章交易勋章

发表于 2025-10-6 19:49 | 显示全部楼层
蔬菜沙拉 发表于 2025-10-6 19:37
  X; ]% N! [4 I3050那把真够呛,能忍住不补仓已经赢一半,节奏乱时洗脸是个好招

# x% D' ~6 N! w4 A5 ]+ i7 L6 _玩菠菜还是量力而行吧, 别玩太大了, 输太多了, 也是很影响心情了。
回复 支持 反对

使用道具 举报

3400

主题

4万

回帖

4145

金币

钻石用户

积分
116771

万时之王老会员勤奋勋章交易勋章

发表于 2025-10-6 19:49 | 显示全部楼层
二电厂哥 发表于 2025-10-6 17:56
9 q. B# l# x/ u% L3 S% {- W你还玩这个啊,我是真没玩过这类彩票,是彩票没错吧,止损做到位就好

. D: J7 X' j. {2 j8 H6 y: o% b亏损了2450也是输太多了, 这钱能干很多事的了啊, 也是很遗憾了。
回复 支持 反对

使用道具 举报

3400

主题

4万

回帖

4145

金币

钻石用户

积分
116771

万时之王老会员勤奋勋章交易勋章

发表于 2025-10-6 19:50 | 显示全部楼层
shunlifeiup 发表于 2025-10-6 16:223 m! m0 S: s! A+ Y( z
楼主亏损了还是要止损,回血了一大半还是挺不错了
- L6 ~" R4 p! I. f  Y0 }
损失惨重了呀, 输了这么多, 想回血都是很困难了啊, 还是休息冷静一下吧。
回复 支持 反对

使用道具 举报

390

主题

1571

回帖

2956

金币

银牌会员

积分
10250

老会员交易勋章

发表于 2025-10-6 21:07 | 显示全部楼层
能够及时做到止损啊 还是很不容易的   及时调整吧!
回复 支持 反对

使用道具 举报

52

主题

2万

回帖

1万

金币

铂金用户

积分
97919

老会员光影行者

发表于 2025-10-7 02:34 | 显示全部楼层
别急着追,理性把握,稳住节奏,总会有赚钱的时候,节制至关重要
回复 支持 反对

使用道具 举报

52

主题

2万

回帖

1万

金币

铂金用户

积分
97919

老会员光影行者

发表于 2025-10-7 02:34 | 显示全部楼层
蔬菜沙拉 发表于 2025-10-6 19:37+ _" g3 Y& \' o' _6 Q) P
3050那把真够呛,能忍住不补仓已经赢一半,节奏乱时洗脸是个好招
; H: T' ~( T  {3 z$ P7 j  O% A
3050那把确实有点狼狈,不过威尼斯人台湾宾果稳住节奏,亏损2450也算是及时止损
回复 支持 反对

使用道具 举报

2547

主题

8万

回帖

5774

金币

海燕硕士

积分
232322

老会员超级精华精华勋章美女勋章勤奋勋章交易勋章万时之王

发表于 2025-10-7 05:46 | 显示全部楼层
输掉了2000多块能够止损离开也是比较理智的一个人吧
回复 支持 反对

使用道具 举报

2547

主题

8万

回帖

5774

金币

海燕硕士

积分
232322

老会员超级精华精华勋章美女勋章勤奋勋章交易勋章万时之王

发表于 2025-10-7 05:46 | 显示全部楼层
whywhy 发表于 2025-10-7 02:342 d- i6 x: d: g8 T
3050那把确实有点狼狈,不过威尼斯人台湾宾果稳住节奏,亏损2450也算是及时止损 ...

- m0 [% o5 w1 q7 `  x反正自己的节奏要把握好,不然输的就是自己的钱
回复 支持 反对

使用道具 举报

2547

主题

8万

回帖

5774

金币

海燕硕士

积分
232322

老会员超级精华精华勋章美女勋章勤奋勋章交易勋章万时之王

发表于 2025-10-7 05:46 | 显示全部楼层
whywhy 发表于 2025-10-7 02:347 D: N2 S+ v$ A$ F/ \5 B
别急着追,理性把握,稳住节奏,总会有赚钱的时候,节制至关重要
2 d7 [% R4 Z; R8 K% c! h- V
这个节奏导致的亏损也是没有办法的事,毕竟输了这么多
回复 支持 反对

使用道具 举报

2547

主题

8万

回帖

5774

金币

海燕硕士

积分
232322

老会员超级精华精华勋章美女勋章勤奋勋章交易勋章万时之王

发表于 2025-10-7 05:46 | 显示全部楼层
莫扎特06 发表于 2025-10-6 19:49
# S4 W1 P' w% B9 S: h  X0 S: [亏损了2450也是输太多了, 这钱能干很多事的了啊, 也是很遗憾了。

$ i5 o/ V2 q& ^5 l+ u6 U输的太多也是要想办法把它搞回来,不然也是难受
回复 支持 反对

使用道具 举报

您需要登录后才可以回帖 登录 | 立即注册

本版积分规则

广告合作|福利汇|论坛简介|钱包教程|手机版|小黑屋|Archiver|海燕论坛

快速回复 返回顶部 返回列表