找回密码
 立即注册
澳门威尼斯人
U8
U18
海燕招商
A
蓝盾
e世博
islot.
申博亚洲
B
开云
腾博会
德信
C级广告商
吉祥坊
华体会
查看: 29531|回复: 63

[彩票] 【实战有奖】澳门威尼斯人 9月22日台彩宾果5单连打,千元资金小亏78元

[复制链接]

50

主题

2万

回帖

5400

金币

千足金牌会员

积分
65943

老会员光影行者

发表于 2025-9-22 16:31 | 显示全部楼层 |阅读模式

马上注册,结交更多好友,享用更多功能,让你轻松玩转社区。

您需要 登录 才可以下载或查看,没有账号?立即注册

×
资金往来和投注流水都放出来,输赢数据一清二楚。虽说整体亏损不大,但过程曲折,值得写个复盘总结,也方便坛友们交流经验。

6 g5 e. ]% r: n4 h7 J/ P
一、资金进出明细
9 |' c0 ?8 Y8 q2 V& v  C5 [
从账户明细图上可以看到,今天资金主要在 大厅与BBIN彩票 之间来回切换:

  K6 Y$ L( @8 \9 f( \$ A, v% T& u' I
15:50:从大厅转出 1050.15元 到 BBIN 彩票账户。
' h& C/ C$ _6 `0 |
16:23:BBIN 彩票结算后转回大厅 972.15元。

! j$ u2 h+ B2 H5 r* Y
换句话说,我拿出1050元作为实战本金,经过一轮下注后,最终回到大厅的资金是972元,整体小亏78元。

2 Q6 |" e$ v  t2 q1 m* S
二、投注记录回顾
) n# \/ K, t0 ~& N0 u4 n' u
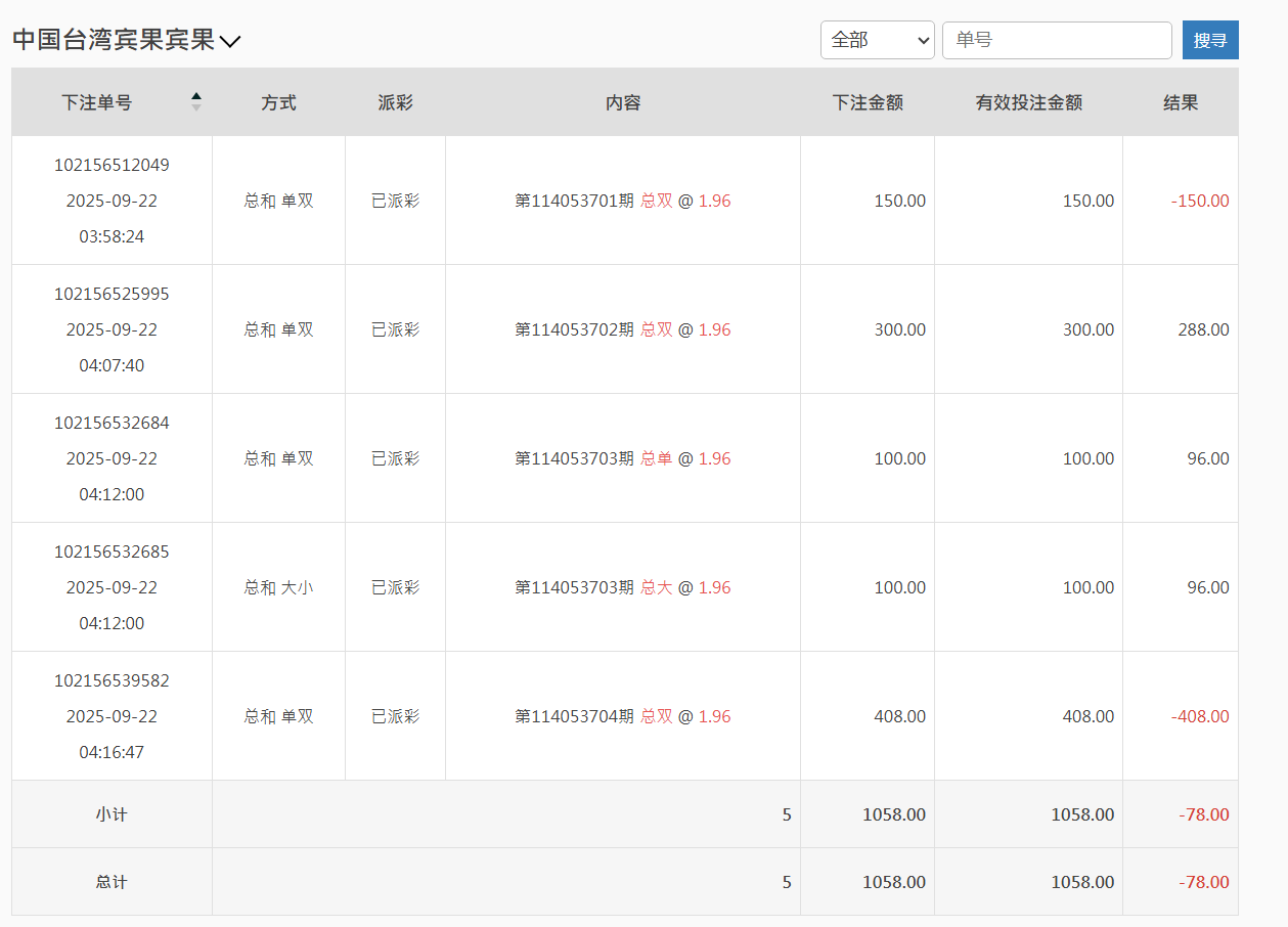
下注明细主要集中在 中国台湾宾果 的单双、大小玩法。时间段是凌晨 3:58 到 4:16,共下了 5 单,总投入 1058 元。
- D$ K( W5 h5 i  d6 U/ c# N6 f) h3 o
具体如下:
5 a" f7 {* `* ~" }1 G7 N4 ]* ^
第114053701期 总双 @1.96
投注150元,结果亏损,-150元。
  w8 c7 x1 u9 J. j1 y9 E" T9 C
第114053702期 总双 @1.96
投注300元,中奖派彩288元,等于小赚-12元(实际上赔率稍有差异)。

8 D2 F: ?# j& b6 Q' \, R
第114053703期 总单 @1.96
投注100元,派彩96元,小赚-4元。

; C; }( a. l' f/ \
第114053703期 总大 @1.96
投注100元,派彩96元,同样微亏4元。
# V5 S, |4 ^1 R7 Q6 L) K! B9 A
第114053704期 总双 @1.96
投注408元,结果失利,-408元。

" x" N) a% h: j! C& a' {
小结:
% }% e3 U5 Y! Q6 c) q
总下注额 1058元
1 k2 o( ^. J/ E6 s! A6 ^2 q, c! @
总结果 -78元
4 _0 d. ~# S# H
有效投注 1058元

6 d8 y1 Y& K$ {6 f3 _; a+ T+ j" @
虽然看似金额不大,但起伏明显,尤其最后一单408元的重注,直接把前面几手的努力全部打掉。

6 f2 ^$ X1 U. v7 f$ H' _1 u
三、实战中的问题

  F. O  P9 U. D: l
开局方向不稳
第一手就150元押“双”,结果直接亏,导致后续心态偏急。
: X; `0 Y' {( R. I
加注策略混乱
第五手突然加到408元,这其实就是想一把翻本,结果正好遇上失利,亏损被放大。
: V0 ?& X3 [0 Z( v
赔率差异小
宾果的单双/大小,赔率都在1.96上下,长期拼下来很容易被水钱吃掉。今天虽然有几单“中”,但派彩比下注额略低,看起来是赢,其实也是亏。

" f9 h# r6 f& h0 ~
四、经验总结
) u  K0 S* J: ~6 I3 s
不要冲动加注
今天最致命的就是最后一手408元。前面都是百元级别,突然放大到四百,结果输了直接吃掉全部利润,得不偿失。
% b* U0 c0 ]2 ^" A# A
合理规划资金
1050元本金,本可以拆分成十几手小注慢慢打,把波动摊平。但因为急于回血,结果越陷越深。
: J5 K3 ?' A6 X( L) N% N
赔率细节要注意
1.96看似接近2,其实长期下来是巨大的差别。如果打法不精准,边际损失会被放大。
# x$ u$ H1 G2 G* n
控制节奏
今天的下注时间都集中在20分钟内,连下5手,几乎没停顿。其实完全可以隔几期观察走势,而不是短时间硬刚。

0 k  x3 h* Z0 ?1 `
五、结语
: }! \" P1 h2 N* {
这次实战虽然只亏了78元,但过程暴露了很多问题:冲动、乱加注、没设止损。要不是最后一手重注失利,今天其实还能保本。

! Z9 M+ D/ I6 V( |1 |
以后计划改进打法:
7 _! u& C) n7 m( [/ {9 \: W
每手控制在100-200元,不随意放大;

6 M5 W  X+ T7 i! [) K
设置止损点,比如亏损超过300元就收手;
" D/ B7 f7 c4 K" G! l6 ]
拉长观察时间,不必每期都上。
7 {# V$ R" P( Y- W
兄弟们,你们在玩台湾宾果的时候,一般是倍投翻身,还是小注慢磨?欢迎在楼下交流思路,互相借鉴下经验。
QQ20250922-162509.png QQ20250922-162336.png
1 u' o  J) {+ q. j2 [5 R! ]
回复

使用道具 举报

25

主题

6434

回帖

1141

金币

金牌会员

积分
20629

老会员光影行者

发表于 2025-9-22 16:54 | 显示全部楼层
运气很一般呀,大注码没有中奖成功,确实非常可惜的
回复 支持 反对

使用道具 举报

332

主题

1530

回帖

4704

金币

银牌会员

积分
13375

老会员交易勋章

发表于 2025-9-22 22:03 | 显示全部楼层
好在输的不多 慢慢积累经验 争取一次赢个大的啊!
回复 支持 反对

使用道具 举报

58

主题

4万

回帖

1489

金币

钻石用户

积分
122164

万时之王老会员勤奋勋章交易勋章光影行者

发表于 2025-9-23 06:41 | 显示全部楼层
遗憾的结果了,也是没有办法了,亏损了一天的 伙食费也是很无奈的了难搞的!
回复 支持 反对

使用道具 举报

58

主题

4万

回帖

1489

金币

钻石用户

积分
122164

万时之王老会员勤奋勋章交易勋章光影行者

发表于 2025-9-23 06:41 | 显示全部楼层
sq1188 发表于 2025-9-22 22:03
, x4 y. z6 e" c  _/ k  \好在输的不多 慢慢积累经验 争取一次赢个大的啊!

% z/ t' p  @1 W7 s% I! f确实是,慢慢的来,总会有盈利的时候了,一定要好好的把握一下加油多赚钱吧!
回复 支持 反对

使用道具 举报

58

主题

4万

回帖

1489

金币

钻石用户

积分
122164

万时之王老会员勤奋勋章交易勋章光影行者

发表于 2025-9-23 06:41 | 显示全部楼层
决战夕阳 发表于 2025-9-22 16:540 x9 h- r$ ?1 n
运气很一般呀,大注码没有中奖成功,确实非常可惜的

( u8 j1 C7 i8 d1 C4 Z$ W# |确实是可惜了 ,也是没有办法了,所以太需要有个好运气的啊!
回复 支持 反对

使用道具 举报

1834

主题

5万

回帖

4003

金币

钻石用户

积分
174516

万时之王老会员勤奋勋章交易勋章

发表于 2025-9-23 07:25 | 显示全部楼层
决战夕阳 发表于 2025-9-22 16:54
' E! E* I  e% P/ M3 N7 `运气很一般呀,大注码没有中奖成功,确实非常可惜的

# S; N& p8 a; R, m5 ^' }" f这个结果是真的比较可惜的希望下一次是能够赢回来的吧' I8 O9 \: x0 Y8 B' S1 N8 O
回复 支持 反对

使用道具 举报

1834

主题

5万

回帖

4003

金币

钻石用户

积分
174516

万时之王老会员勤奋勋章交易勋章

发表于 2025-9-23 07:25 | 显示全部楼层
奔四 发表于 2025-9-23 06:41
1 e) T: W7 p+ O, m确实是可惜了 ,也是没有办法了,所以太需要有个好运气的啊!
* g1 M9 R3 K* N: V' N
这个没有运气当然是不行的了运气不好一点办法都没有
7 f1 e) V1 t/ k( v% i( i
回复 支持 反对

使用道具 举报

1834

主题

5万

回帖

4003

金币

钻石用户

积分
174516

万时之王老会员勤奋勋章交易勋章

发表于 2025-9-23 07:25 | 显示全部楼层
这样的损失也是真的比较遗憾的希望下次能够打回来吧
( O) [6 h" z9 M
回复 支持 1 反对 0

使用道具 举报

2288

主题

7万

回帖

8505

金币

海燕硕士

积分
217547

老会员超级精华精华勋章美女勋章勤奋勋章交易勋章万时之王

发表于 2025-9-23 07:27 | 显示全部楼层
亏损了几十块钱也是因为运气不好我也能理解你的心情
回复 支持 反对

使用道具 举报

2288

主题

7万

回帖

8505

金币

海燕硕士

积分
217547

老会员超级精华精华勋章美女勋章勤奋勋章交易勋章万时之王

发表于 2025-9-23 07:28 | 显示全部楼层
yb454553 发表于 2025-9-23 07:25& d; }# z; w6 z4 \. q. S  I; m3 P6 W! R
这样的损失也是真的比较遗憾的希望下次能够打回来吧

: j8 _; r$ ?0 ^6 f这个损失已经出现了,也是自己的一个原因,不好玩的呀
回复 支持 反对

使用道具 举报

2288

主题

7万

回帖

8505

金币

海燕硕士

积分
217547

老会员超级精华精华勋章美女勋章勤奋勋章交易勋章万时之王

发表于 2025-9-23 07:28 | 显示全部楼层
yb454553 发表于 2025-9-23 07:25
& u, Z, t4 E1 a- b" V% J, B0 M这个没有运气当然是不行的了运气不好一点办法都没有

4 m: G) F' N; ^, C. B5 Y0 U运气不行就不要玩,不然亏损的也是自己吧
回复 支持 反对

使用道具 举报

2288

主题

7万

回帖

8505

金币

海燕硕士

积分
217547

老会员超级精华精华勋章美女勋章勤奋勋章交易勋章万时之王

发表于 2025-9-23 07:28 | 显示全部楼层
奔四 发表于 2025-9-23 06:41% v* X5 Q" r" i: \3 U  c. g# I4 \
确实是可惜了 ,也是没有办法了,所以太需要有个好运气的啊!
0 {4 p/ T: N6 P& G: m
这样子可惜的话就不要玩了,输的多了也是难受
回复 支持 反对

使用道具 举报

2288

主题

7万

回帖

8505

金币

海燕硕士

积分
217547

老会员超级精华精华勋章美女勋章勤奋勋章交易勋章万时之王

发表于 2025-9-23 07:28 | 显示全部楼层
奔四 发表于 2025-9-23 06:41
' W2 L  g/ Q3 m- ^确实是,慢慢的来,总会有盈利的时候了,一定要好好的把握一下加油多赚钱吧!  ...

. N! W: y- |- c* T$ h问题是不知道什么时候盈利,也只是自己的一个猜测
回复 支持 反对

使用道具 举报

2288

主题

7万

回帖

8505

金币

海燕硕士

积分
217547

老会员超级精华精华勋章美女勋章勤奋勋章交易勋章万时之王

发表于 2025-9-23 07:28 | 显示全部楼层
sq1188 发表于 2025-9-22 22:03' Y7 o( l' ~0 y6 z0 O; C1 M
好在输的不多 慢慢积累经验 争取一次赢个大的啊!
1 ?; n) m# z+ i) j) k
输的不多,就当是一个教训吧,每次我还是小心一点
回复 支持 1 反对 0

使用道具 举报

您需要登录后才可以回帖 登录 | 立即注册

本版积分规则

广告合作|评测有奖|福利汇|论坛简介|钱包合集|手机版|小黑屋|Archiver|海燕论坛

快速回复 返回顶部 返回列表